
川崎四缸250热度未过,川崎四缸400可能就要来了!国外,关于川崎Ninja ZX-4R的消息传的沸沸扬扬,关于ZX-4R的消息越来越接近实锤,不仅仅有渲染图还有专利注册图。

专利图展示了一款跑车类别的摩托车,类似于川崎的中量级Ninja车型,比如Ninja 400或ZX-25R。


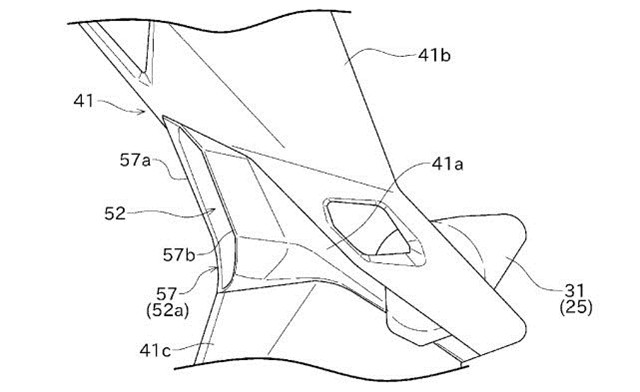
这车辆散热器的设计带有集成管道,可重新引导散热器周围的空气,而且能够明显看到四出的排气头端,因此足以证明这款车是一台四缸车型,也只有是4缸才需要为它设计最佳气流,以实现更有效的散热,车头的设计与现款的Ninja家族化设计保持一致。

川崎申报的专利重点是整流罩上的强制进气孔,以此提高气缸与水箱的冷却效率。由于发动机的高转速特性,需要这种额外的空气冷却。特别像是ZX-25R具有17,000rpm的高转速,因此散热管道将有助于提供更多冷却而无需扩大散热器。

川崎的ZX-25R面世之后,很多人因为其排量太小价格太贵而不屑一顾,很显然川崎也听到了这种声音,但是川崎并不满足ZX-25R所带来的结果,400cc排量的四缸跑车呼之欲出,如果说250排量的四缸不足以让很多人行动,那么400cc级的四缸我想很多人会忍不住吧!