还记着本田去年曝光的概念3轮车Neowing吗?前段时间,也有媒体宣称,这台车只是一个传言,本田还没有量产的计划。

近日,本田就正式曝光了其前段时间提交的Neowing的专利图。而且这台车的量产版还是混合动力的。



从专利图上看,这款新车搭载了一对狭窄的前轮(相对汽车),类似于Can-Am Spyder,结构与比亚乔的MP3也有一些类似。此外,Neowing将采用后单摇臂的设计,与VFR上的结构类似。


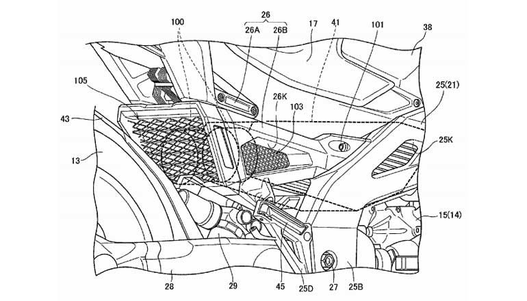
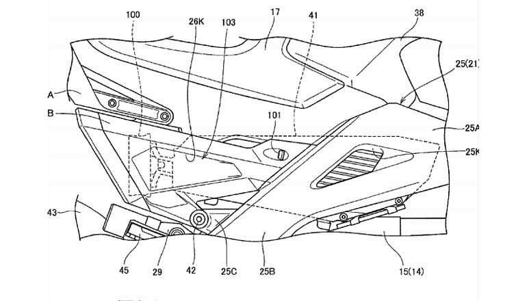
而车的动力来自于本田4缸发动机+驱动电机的HEV组合。这套HEV组合属于低度混动,平时主要采用汽油机作为动力输出,电动机与发电机耦合,辅助输出。
据介绍,这样的动力结构,能够允许工程师利用空气的自然流动来保证发动机和电动机的冷却。





据悉,这款新车,本田的专利几乎都集中在电机和发动机冷却的技术上。用本田的话来说,他们在上面花费了大量的心思,目前这款车已经成熟。似乎本田也成为全球首家将混合动力平台植入摩托车的厂商。
说不定,随着技术的成熟,HEV动力组合也会应用到诸如金翼那样的豪华摩托车上。 一旦本田计划拓展他们的HEV计划,一切都有可能。
接下来,我们国内的小伙伴们,只需静静等待Neowing量产车亮相的那天了。到时候,骑这么帅的车出去,即便我们带了头盔,估计也会被开宝马的同学认出来的。